Dictionary of Ichthyology  

light organ = structures producing light by a chemical reaction or by means of light-producing bacteria, e.g. in the Myctophidae.
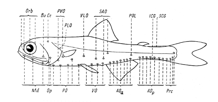
Distribution of light organs on a myctophid.from A. P. Andriashev's "Fishes of the Northern Seas of the U.S.S.R.", 1954.

©Canadian Museum of Nature
www.briancoad.com